В январе 1980 г. по приказу МСХ СССР за №390 от 1 ноября 1979 г. при Рязанском сельскохозяйственном институте организовано студенческое конструкторское бюро (СКБ). СКБ имеет свою эмблему и «Положение о работе СКБ», утверждённое ректором РГАТУ. Характер СКБ – общеуниверситетский при инженерном факультете.
Основные задачи:
Проведение научно-исследовательской и учебно-исследовательской работы студентов, научно-исследовательской работы магистрантов и аспирантов, которые являются продолжением и развитием учебного и научного процессов.
Работы в СКБ выполняются членами СКБ по планам НИР и ОКР, индивидуальным планам подготовки студентов, индивидуальным планам научно-образовательной деятельности магистрантов и аспирантов под руководством профессоров и преподавателей с различных кафедр университета.
В составе СКБ РГАТУ работает 20 кружков, в которых заняты 83 студента РГАТУ. Кружками руководят 4 профессоров, 16 доцентов и препода-вателей кафедр инженерного и автодорожного факультетов. Количество разрабатываемых научно-технических тем – более 20-ти.
Под руководством д.т.н., профессора Бышова Н. В.:
- модернизирован и переоборудован ст. преподавателем Корнюшиным В.М. трактор МТЗ-80 для работы на биотопливе (рапсовое масло). Разработаны чертежи и изготовлен образец универсального подогревателя биотоплива, разработана новая конструкция форсунок для биотоплива, получено два патента на полезную модель;
- разработана лабораторная установка картофелекопателя с сепарирующим устройством центробежного принципа действия ст. преподавателем Якуниным Ю.В., получен патент на полезную модель.
Члены Студенческого конструкторского бюро получили Дипломы лауреатов «Всероссийского конкурса на лучшую научную работу среди студентов высших учебных заведений Министерства сельского хозяйства Российской Федерации», проходившего в мае 2010, 2011, 2013 г.г. в Саратовском аграрном университете им. Н.И. Вавилова.
Наиболее актуальные разрабатываемые в настоящее время темы: «Преимущества и недостатки применения рапсового масла в качестве биодизельного топлива», «Переоборудование и модернизация трактора МТЗ-80 для работы на биотопливе (рапсовом масле) и его экономические показатели».
Получены следующие результаты:
- изучена и исследована технология выращивания и уборки рапса, переработка его в растительное масло;
- изготовлен опытный образец трактора МТЗ-80, работающего на двух видах топлива;
- получены 2 патента РФ на полезную модель «Универсальный подогреватель биотоплива» и «Распылитель безштифтовой форсунки для масляного биотоплива».
Трактор МТЗ-80 является двухтопливным, работающим в период полевых работ на чисто рапсовом масле, а в зимнее время его двигатель переключается на питание дизтопливом. Трактор имеет два бака, ёмкостью по 65л: один для биотоплива, другой – для дизтоплива. Возможна работа двигателя на смеси двух топлив 50% на 50%.
Расход топлива на номинальном режиме:
на дизтопливе – 13 кг/ч, на биотопливе – 13 кг/ч.
Мощностные показатели двигателя при работе на рапсовом масле уменьшаются на 5%.
Годовой экономический эффект за счёт сокращения затрат на топливо для трактора МТЗ-80 составляет 200 000 руб, а при наработке до капремонта - 1 482 000 руб.
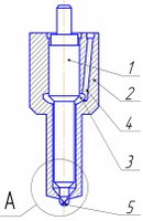
На тракторе установлен «Универсальный подогреватель биотоплива», разработанный в СКБ, на который получен Патент на полезную модель
№ 1381 от 24.08.2009 г. На переоборудование трактора имеется полный пакет конструкторской документации. Разработана «Инструкция по эксплуатации трактора при работе на биотопливе». Стоимость переоборудования составляет не более 3 000 руб.
Распылитель для масляного биотоплива.













































